00135034_0
ADLQ/500


00129281_0
With butterfly damper


00129276_0
With connecting frame


00129271_0
With damper blade


00129266_0
With plenum box


00129260_0
Horizontal air discharge


00135034_0
00129281_0
00129276_0
00129271_0
00129266_0
00129260_0

ADLQ

For four-way horizontal supply air discharge, with fixed air control blades – aluminium diffuser face

Square ceiling diffusers

  • Nominal sizes 250, 300, 400, 500, 600, 625
  • Volume flow rate range 20 – 665 l/s or 72 – 2394 m³/h
  • Square diffuser face
  • Diffuser face made of aluminium with anodised finish
  • For supply and extract air
  • For variable and constant volume flows
  • For all types of ceiling systems
  • High induction results in a rapid reduction of the temperature difference and airflow velocity


Optional equipment and accessories

  • Exposed diffuser face available in RAL CLASSIC colours
  • Horizontal or vertical duct connection
  • Blanking plates for adjusting the discharge direction
  • Duct cross bar for installation without plenum box
  • Plenum box with cord-operated damper blade and pressure tap

Updating order code
Save configuration
Calculate price
Updating technical data
  • Media
Specification text:
Updating specification text
Show complete text Hide complete text
Initialize order code

Application

Application

  • Type ADLQ ceiling diffusers are used as supply air or extract air diffusers for comfort zones
  • Attractive design element for building owners and architects with demanding aesthetic requirements
  • Horizontal four-way supply air discharge for mixed flow ventilation
  • High induction results in a rapid reduction of the temperature difference and airflow velocity (supply air variant)
  • For variable and constant volume flows
  • For supply air to room air temperature differences from –10 to + +10 K
  • For room heights up to 4 m (lower edge of suspended ceiling)
  • For all types of ceiling systems

Special characteristics

  • Horizontal four-way supply air discharge
  • Diffuser face made of aluminium
  • For all types of ceiling systems
  • Horizontal or vertical duct connection

Nominal sizes

  • 250, 300, 400, 500, 600, 625

Description

Variant

  • Square diffuser face


Connection

  • A: Diffuser face only
  • AR: Vertical duct connection, with connecting frame
  • AG: Vertical duct connection, with blades
  • C: Vertical duct connection with butterfly damper
  • AK: Horizontal duct connection, with plenum box

Parts and characteristics

  • Square diffuser face with fixed air control blades
  • Diffuser front frame
  • Simple installation of the diffuser face due to central fixing screw with decorative cap

Accessories

  • Lip seal

Construction features

  • Spigot suitable for circular ducts to EN 1506 or EN 13180

Materials and surfaces

  • Diffuser face made of extruded aluminium sections
  • AK: Plenum box and cross bar made of galvanised sheet steel
  • X: Plenum box made of plastic and galvanised sheet steel
  • Connecting frame and butterfly damper made of sheet steel
  • Lip seal made of rubber
  • Attachments are dip coated RAL 9005, jet black
  • Diffuser face with anodised finish, E6-C-0, natural colour
  • P1: Powder-coated, RAL CLASSIC colour

Standards and guidelines

  • Sound power level of the air-regenerated noise measured according to EN ISO 5135

Maintenance

  • Maintenance-free as construction and materials are not subject to wear
  • Inspection and cleaning to VDI 6022

Technical information

Function, Technical data, Quick sizing, Specification text, Order code

  • Function
  • Technical data
  • Quick sizing
  • Specification text
  • Order code

Functional description

Ceiling diffusers direct the air from air conditioning systems into the room. The resulting airflow induces high levels of room air, thereby rapidly reducing the airflow velocity and the temperature difference between supply air and room air. Ceiling diffusers allow for large volume flow rates. The result is a mixed flow ventilation in comfort zones, with good overall room ventilation, creating only very little turbulence in the occupied zone.

Type ADLQ ceiling diffusers have fixed blades. Horizontal air discharge is four-way. The supply air to room air temperature difference may range from –10 to +10 K.

To give rooms an aesthetic, uniform look, Type ADLQ diffusers may also be used for extract air.

Nominal sizes

250, 300, 400, 500, 600, 625 mm

Minimum volume flow rate

20 – 250 l/s or 72 – 900 m³/h

Maximum volume flow rate, with LWA ≅ 50 dB(A)

575 – 665 l/s or 2070 – 2394 m³/h

Supply air to room air temperature difference

–10 to +10 K


Quick sizing tables provide a good overview of the volume flow rates and corresponding sound power levels and differential pressures.

The maximum volume flow rates apply to a sound power level of approx. 50 dB (A).

Exact values for all parameters can be determined with our Easy Product Finder design programme.

ADLQ-A, ADLQ-AR (supply air), sound power level and total differential pressure

Nominal size V Δpt LWA
Nominal size l/s m³/h Pa dB(A)

250

20

72

3

18

250

50

180

20

30

250

80

288

50

41

250

105

378

86

50

300

35

126

3

<15

300

80

288

14

24

300

125

450

35

35

300

175

630

68

50

400

75

270

2

<15

400

175

630

13

25

400

280

1008

34

38

400

385

1386

65

50

500

135

486

3

<15

500

270

972

10

25

500

505

1818

36

47

500

545

1962

42

50

600

220

792

3

21

600

380

1368

9

33

600

535

1926

17

42

600

675

2430

27

50

625

250

900

3

20

625

390

1404

7

33

625

540

1944

13

43

625

665

2394

19

50


ADLQ-AK (supply air), sound power level and total differential pressure

Nominal size V Damper blade position
Nominal size V 45° 90°
Nominal size V Δpt LWA Δpt LWA Δpt LWA
Nominal size l/s m³/h Pa dB(A) Pa dB(A) Pa dB(A)

250

20

72

5

<15

6

<15

11

<15

250

40

144

20

30

24

29

42

30

250

60

216

46

42

54

41

95

42

250

85

306

92

51

108

51

190

52

300

35

126

6

<15

9

<15

20

18

300

70

252

26

30

37

32

81

38

300

100

360

52

41

75

43

166

48

300

130

468

89

50

126

51

280

57

400

75

270

9

<15

15

19

32

29

400

130

468

27

31

44

38

95

45

400

185

666

54

42

90

48

192

58

400

230

828

84

50

138

56

297

69

500

135

486

12

15

18

23

42

35

500

210

756

29

32

45

39

101

49

500

285

1026

53

42

82

48

185

60

500

360

1296

84

50

131

57

295

71

600

220

792

12

22

19

25

50

34

600

330

1188

27

33

43

39

112

46

600

440

1584

48

43

77

49

198

55

600

540

1944

72

50

116

56

299

63

625

250

900

14

22

27

33

63

39

625

330

1188

25

32

47

42

110

47

625

410

1476

38

39

73

50

170

53

625

575

2070

75

50

143

64

333

67


Ceiling diffusers with square diffuser face. Supply air and extract air variants for comfort zones. Diffuser face with fixed air control blades for horizontal four-way air discharge. For installation into all types of suspended ceilings.

Ready-to-install component which consists of the aluminium diffuser face with fixed air control blades, a diffuser front frame with perimeter seal and a connecting frame, opposed action blades, butterfly damper or a plenum box.

Diffuser face suitable for central screw fixing.

Sound power level of the air-regenerated noise measured according to EN ISO 5135.

Special characteristics

  • Horizontal four-way supply air discharge
  • Diffuser face made of aluminium
  • For all types of ceiling systems
  • Horizontal or vertical duct connection

Materials and surfaces

  • Diffuser face made of extruded aluminium sections
  • AK: Plenum box and cross bar made of galvanised sheet steel
  • X: Plenum box made of plastic and galvanised sheet steel
  • Connecting frame and butterfly damper made of sheet steel
  • Lip seal made of rubber
  • Attachments are dip coated RAL 9005, jet black
  • Diffuser face with anodised finish, E6-C-0, natural colour
  • P1: Powder-coated, RAL CLASSIC colour

Technical data

  • Nominal sizes: 250, 300, 400, 500, 600, 625 mm
  • Minimum volume flow rate: 20 – 250 l/s or 72 – 900 m³/h
  • Maximum volume flow rate, with LWA ≅ 50 dB(A): 575 – 665 l/s or 2070 – 2394 m³/h
  • Supply air to room air temperature difference: –10 to +10 K

Sizing data

  • V _______________________ [m³/h]
  • Δpt _______________________ [Pa]

Air-regenerated noise

  • LWA _______________________ [dB(A)]

00133951_0

 Type
ADLQ       Ceiling diffuser

 Connection
A       Diffuser face only
AR       Vertical, with connecting frame
AG       Vertical, with blades (not for nominal size 250)
C       Vertical, with butterfly damper
ZH       Horizontal, supply air, with plenum box
AH       Horizontal, extract air, with plenum box

 Damper blade for volume flow rate balancing
       No entry: without damper blade
       Only for connections ZH, AH
M       With damper blade
MN       With cords and pressure tap

 

 Accessories
       No entry: without accessories
L       With lip seal (only with plenum box)

 Nominal size [mm]
250
300
400
500
600
625

 Cross bar
       No entry: without cross bar
E1       With duct cross bar
G1       With standard cross bar

 Exposed surface
       No entry: anodised, E6-C-0, natural colour
P1       Powder-coated, specify RAL CLASSIC colour

       Gloss level
       RAL 9010 50 %
       RAL 9006 30 %
       All other RAL colours 70 %

Order example: ADLQ-AK-M-L/500

Connection

Horizontal, with plenum box

Damper blade for volume flow rate balancing

With damper blade

Accessories

With lip seal

Nominal size

500

Exposed surface

RAL 9010, pure white, gloss level 50 %


 

Variants, Dimensions and weight, Product details

  • Variants
  • Dimensions and weight
  • Product details

ADLQ-A

Designed for high comfort

Together with renowned designers and architects we have developed ceiling, wall, staircase and floor diffusers and grilles that are not only aesthetic design elements, but also meet demanding ventilation and acoustic requirements.

Variant

  • Ceiling diffuser with square diffuser face

Nominal sizes

  • 250, 300, 400, 500, 600, 625

Parts and characteristics

  • Square diffuser face
  • Simple installation of the diffuser face due to central fixing screw with decorative cap

ADLQ-AR

Designed for high comfort

Together with renowned designers and architects we have developed ceiling, wall, staircase and floor diffusers and grilles that are not only aesthetic design elements, but also meet demanding ventilation and acoustic requirements.

Variant

  • Ceiling diffuser with square diffuser face
  • With connecting frame

Nominal sizes

  • 250, 300, 400, 500, 600, 625

Parts and characteristics

  • Square diffuser face
  • Connecting frame for installation of the diffuser into vertical ducts
  • Simple installation of the diffuser face due to central fixing screw with decorative cap

ADLQ-C

Designed for high comfort

Together with renowned designers and architects we have developed ceiling, wall, staircase and floor diffusers and grilles that are not only aesthetic design elements, but also meet demanding ventilation and acoustic requirements.

Variant

  • Ceiling diffuser with square diffuser face
  • With connecting frame
  • With butterfly damper

Nominal sizes

  • 250, 300, 400, 500, 600, 625

Parts and characteristics

  • Square diffuser face
  • Connecting frame for installation of the diffuser into vertical ducts
  • Butterfly damper for volume flow rate balancing
  • Simple installation of the diffuser face due to central fixing screw with decorative cap

ADLQ-AG

Designed for high comfort

Together with renowned designers and architects we have developed ceiling, wall, staircase and floor diffusers and grilles that are not only aesthetic design elements, but also meet demanding ventilation and acoustic requirements.

Variant

  • Ceiling diffuser with square diffuser face
  • With connecting frame
  • With opposed action blades

Nominal sizes

  • 250, 300, 400, 500, 600, 625

Parts and characteristics

  • Square diffuser face with fixed air control blades
  • Diffuser front frame
  • Simple installation of the diffuser face due to central fixing screw with decorative cap
  • Connecting frame for installation of the diffuser into vertical ducts
  • Damper blade for volume flow rate balancing

ADLQ-AK

Designed for high comfort

Together with renowned designers and architects we have developed ceiling, wall, staircase and floor diffusers and grilles that are not only aesthetic design elements, but also meet demanding ventilation and acoustic requirements.

Variant

  • Ceiling diffuser with square diffuser face
  • With plenum box for horizontal duct connection

Nominal sizes

  • 250, 300, 400, 500, 600, 625

Parts and characteristics

  • Square diffuser face
  • Plenum box for horizontal duct connection
  • Square opening to accommodate the diffuser face
  • Equalising element that ensures a uniform airflow through the diffuser face (supply air variant)
  • Simple installation of the diffuser face due to central fixing screw with decorative cap
  • Damper blade for volume flow rate balancing (optional)
  • Pressure tap and cord-operated damper blade for volume flow rate balancing (optional)
  • Lip seal (optional)

Construction features

  • Spigot suitable for circular ducts to EN 1506 or EN 13180

ADLQ-A

Nominal size
□Q
mm
□Q1
mm
H1
mm
H2
mm
m
kg
250 140 248 13 29 0.5
300 190 298 13 29 0.7
400 290 398 13 29 1.3
500 390 498 13 29 1.8
600 490 598 13 29 2.5
625 515 623 13 29 2.6


ADLQ-AR

Nominal size
□Q
mm
□Q1
mm
H1
mm
H2
mm
m
kg
250 143 248 13 52 0.7
300 193 298 13 52 1.0
400 293 398 13 52 1.7
500 393 498 13 52 2.3
600 493 598 13 52 3.0
625 518 623 13 52 3.2


ADLQ-C

Nominal size
□Q
mm
□Q1
mm
H1
mm
H2
mm
m
kg
250 143 248 13 52 1.2
300 193 298 13 52 1.7
400 293 398 13 52 2.9
500 393 498 13 52 4.2
600 493 598 13 52 5.9
625 518 623 13 52 6.3


ADLQ-AG

Nominal size
□Q
mm
□Q1
mm
H1
mm
H2
mm
m
kg
250 143 248 13 95 0.9
300 193 298 13 95 1.4
400 293 398 13 95 2.5
500 393 498 13 95 3.6
600 493 598 13 95 5.0
625 518 623 13 95 5.6


ADLQ-AK

Nominal size
□Q1
mm
H1
mm
□Q3
mm
H3
mm
ØD
mm
A
mm
C
mm
Plenum box
m
kg
250 248 13 216 250 158 139 50 AK-Uni-008 2.7
300 298 13 266 250 158 139 50 AK-Uni-009 3.4
400 398 13 372 295 198 164 50 AK-Uni-002 5.8
500 498 13 476 345 248 189 48 AK-Uni-010 8.5
600 598 13 567 410 313 222 50 AK-Uni-011 11.6
625 623 13 567 410 313 222 50 AK-Uni-011 11.8

Weights apply to the supply air variant


Diffuser face ADLQ 00155978_0


ADLQ

Nominal size
□Q1
mm
□Q2
mm
Aeff

250 248 198 0.0095
300 298 248 0.0175
400 398 348 0.0370
500 498 448 0.0675
600 598 548 0.1100
625 623 573 0.1230


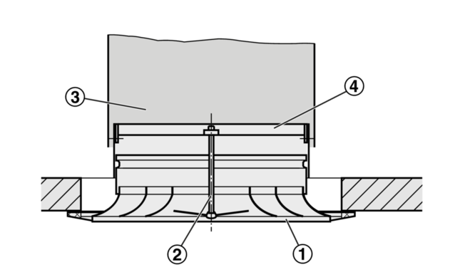
Installation examples, Installation details, Commissioning, Basic information and nomenclature

  • Installation examples
  • Installation details
  • Commissioning
  • Basic information and nomenclature

Installation and commissioning

  • Preferably for rooms with a clear height up to 4.0 m
  • Flush ceiling installation
  • Horizontal or vertical duct connection
  • If necessary, carry out volume flow rate balancing with the damper blade


These are only schematic diagrams to illustrate installation details.

Volume flow rate balancing

When several diffusers are connected to just one volume flow controller, it may be necessary to balance the volume flow rates.

  • Ceiling diffusers with universal plenum box and damper blade (variant -M): The diffuser face can be removed to access the damper blade; the damper blade can then be set to any position between 0 and 90°
  • Ceiling diffusers with universal plenum box, damper blade and pressure tap (variant -MN): The diffuser face need not be removed since the damper blade can be set with two cords (white and green).

Volume flow rate measurement

Ceiling diffusers with universal plenum box, damper blade and pressure tap (variant -MN) allow for volume flow rate balancing even with the diffuser face in place.

  • Connect the measuring tube to the digital manometer
  • Read the effective pressure
  • Read the volume flow rate off the characteristic or calculate it
  • If necessary, adjust the damper blade position with the cords


A characteristic is included with each AK-Uni plenum box.

Principal dimensions

ØD [mm]

Outer diameter of the spigot

ØD₁ [mm]

Outer diameter of a circular diffuser face

ØD₂ [mm]

Diameter of a circular diffuser face style

ØD₃ [mm]

Diameter of a circular plenum box

□Q₁ [mm]

Outer diameter of a square diffuser face

□Q₂ [mm]

Dimensions of a square diffuser face style

□Q₃ [mm]

Dimensions of a square plenum box

H₁ [mm]

Distance (height) from the lower edge of the suspended ceiling to the lower edge of the diffuser face

H₂ [mm]

Height of a ceiling diffuser, from the lower edge of the suspended ceiling to the upper edge of the spigot

H₃ [mm]

Height of a ceiling diffuser with plenum box, from the lower edge of the suspended ceiling to the upper edge of the plenum box or of the spigot

A [mm]

Position of the spigot, defined by the distance of the spigot centre line to the lower edge of the suspended ceiling

C [mm]

Length of the spigot

m [kg]

Weight

Nomenclature

LWA [dB(A)]

A-weighted sound power level of air-regenerated noise

V [m³/h] and [l/s]

Volume flow rate

Δtz [K]

Supply air to room air temperature difference, i.e. supply air temperature minus room temperature

Δpt [Pa]

Total differential pressure

Aeff [m²]

Effective air discharge area


All sound power levels are based on 1 pW.

Downloads

product information

certificates

miscellaneous

production {"x-frame-options"=>"SAMEORIGIN", "x-xss-protection"=>"1; mode=block", "x-content-type-options"=>"nosniff", "x-download-options"=>"noopen", "x-permitted-cross-domain-policies"=>"none", "referrer-policy"=>"strict-origin-when-cross-origin", "strict-transport-security"=>"max-age=31536000; includeSubDomains", "content-type"=>"text/html; charset=utf-8"}

Share page

Recommend this page

Recommend this page by sending a link by mail.

Fields marked with an (*) are required fields.

Share page

Thank you for your recommendation!

Your recommendation has been sent and should arrive shortly.

Contact

We are here for you

Please specify your message and type of request
Tel.: +49 (0)2845 / 202-0 | Fax: +49 (0)2845/202-265

Fields marked with an (*) are required fields.

Contact

Thank you for your message!

Your message is send and will be processed shortly.
Our department for Service-Requests will contact you asap.
For general question regarding products or services you can also call:
Tel.: +49 (0)2845 / 202-0 | Fax: +49 (0)2845/202-265

Contact

We are here for you

Please specify your message and type of request
Tel.: +49 (0)2845 / 202-0 | Fax: +49 (0)2845/202-265

Attachment (max. 10MB)

Fields marked with an (*) are required fields.

Contact

Thank you for your message!

Your message is send and will be processed shortly.
Our department for Service-Requests will contact you asap.
For general question regarding products or services you can also call:
Tel.: +49 (0)2845 / 202-0 | Fax: +49 (0)2845/202-265